Cod QR
Despre noi
Produse
Contactaţi-ne


Fax
+86-574-87168065

E-mail

Abordare
Zona industrială Luotuo, districtul Zhenhai, orașul Ningbo, China
Cuplajul universal de tip sudură flexibil standard SWC-BH de la Raydafon este conceput special pentru transferul de cuplu pentru sarcini grele în scenarii solicitante de mașini grele - gândiți-vă la laminoare, macarale și echipamente miniere care funcționează sub stres constant ridicat.
Vine cu un jug sudat ca o caracteristică cheie de design, iar diametrele sale de rotație se întinde pe o gamă practică: de la 180 mm până la 620 mm. Ceea ce îl diferențiază pentru lucrări dificile este capacitatea sa de a face față dezechilibrelor unghiulare de până la 15 grade, plus că poate suporta sarcini de cuplu de până la 1250 kN·m - ambele esențiale pentru menținerea operațiunilor stabile chiar și în condiții dure de lucru.
Calitatea construcției se concentrează pe durabilitate: cuplajul folosește oțel 35CrMo de înaltă rezistență pentru duritate de lungă durată, combinat cu rulmenți cu ace de precizie pentru a asigura o performanță netedă și fiabilă în timp. Acest lucru îl face o alegere ideală pentru două nevoi cheie: cuplaje universale adaptate pentru mașini grele și cuplaje universale sudate potrivite pentru aplicații de calitate industrială.
Raydafon produce acest cuplaj în China, iar toată producția urmează standardele ISO 9001 pentru a garanta o calitate constantă. În plus, oferă opțiuni personalizate pentru a se potrivi cerințelor specifice — toate la prețuri care rămân competitive pentru companiile care caută atât fiabilitate, cât și valoare.
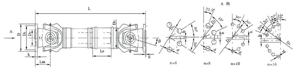
| Nu. | Diametrul de rotație D mm | Cuplul nominal Tn KN·m | Unghiul de pliere a axelor β (°) | Cuplu obosit Tf KN·m | Cantitate flexibilă Ls mm | Dimensiune (mm) | Inerția de rotație kg.m2 | Greutate (kg) | |||||||||||
| Lmin | D1 (js11) | D2 (H7) | D3 | Lm | n-d | k | t | b (h9) | g | Lmin | Creșteți 100 mm | Lmin | Creșteți 100 mm | ||||||
| SWC58BH | 58 | 0.15 | 0.075 | ≤22 | 35 | 325 | 47 | 30 | 38 | 35 | 4-5 | 3.5 | 1.5 | - | - | - | - | 2.2 | - |
| SWC65BH | 65 | 0.25 | 0.125 | ≤22 | 40 | 360 | 52 | 35 | 42 | 46 | 4-6 | 4.5 | 1.7 | - | - | - | - | 3 | - |
| SWC75BH | 75 | 0.5 | 0.25 | ≤22 | 40 | 395 | 62 | 42 | 50 | 58 | 6-6 | 5.5 | 2 | - | - | - | - | 5 | - |
| SWC90BH | 90 | 1 | 0.5 | ≤22 | 45 | 435 | 74.5 | 47 | 54 | 58 | 4-8 | 6 | 2.5 | - | - | - | - | 6.6 | - |
| SWC100BH | 100 | 1.5 | 0.75 | ≤25 | 55 | 390 | 84 | 57 | 60 | 58 | 6-9 | 7 | 2.5 | - | - | 0.0044 | 0.00019 | 6.1 | 0.35 |
| SWC120BH | 120 | 2.5 | 1.25 | ≤25 | 80 | 485 | 102 | 75 | 70 | 68 | 8-11 | 8 | 2.5 | - | - | 0.0109 | 0.00044 | 10.8 | 0.55 |
| SWC150BH | 150 | 5 | 2.5 | ≤25 | 80 | 590 | 13 | 90 | 89 | 80 | 8-13 | 10 | 3 | - | - | 0.0423 | 0.00157 | 24.5 | 0.85 |
| SWC160BH | 160 | 10 | 5 | ≤25 | 80 | 660 | 137 | 100 | 95 | 110 | 8-17 | 15 | 3 | 20 | 12 | 0.145 | 0.006 | 68 | 1.72 |
| SWC180BH | 180 | 20 | 10 | ≤25 | 100 | 810 | 155 | 105 | 114 | 130 | 8-17 | 17 | 5 | 24 | 14 | 0.175 | 0.007 | 70 | 2.8 |
| SWC200BH | 200 | 32 | 16 | ≤15 | 110 | 860 | 170 | 120 | 127 | 135 | 8-17 | 19 | 5 | 28 | 16 | 0.31 | 0.013 | 86 | 3.6 |
| SWC225BH | 225 | 40 | 20 | ≤15 | 140 | 920 | 196 | 135 | 152 | 120 | 8-17 | 20 | 5 | 32 | 9 | 0.538 | 0.0234 | 122 | 4.9 |
| SWC250BH | 250 | 63 | 31.5 | ≤15 | 140 | 1035 | 218 | 150 | 168 | 140 | 8-19 | 25 | 6 | 40 | 12.5 | 0.966 | 0.0277 | 172 | 5.3 |
| SWC285BH | 285 | 90 | 45 | ≤15 | 140 | 1190 | 245 | 170 | 194 | 160 | 8-21 | 27 | 7 | 40 | 15 | 2.011 | 0.051 | 263 | 6.3 |
| SWC315BH | 315 | 125 | 63 | ≤15 | 140 | 1315 | 280 | 185 | 219 | 180 | 10-23 | 32 | 8 | 40 | 15 | 3.605 | 0.0795 | 382 | 8 |
| SWC350BH | 350 | 180 | 90 | ≤15 | 150 | 1410 | 310 | 210 | 267 | 194 | 10-23 | 35 | 8 | 50 | 16 | 7.053 | 0.2219 | 582 | 15 |
| SWC390BH | 390 | 250 | 125 | ≤15 | 170 | 1590 | 345 | 235 | 267 | 215 | 10-25 | 40 | 8 | 70 | 18 | 12.164 | 0.2219 | 738 | 15 |
| SWC440BH | 440 | 355 | 180 | ≤15 | 190 | 1875 | 390 | 255 | 325 | 260 | 16-28 | 42 | 10 | 80 | 20 | 21.42 | 0.4744 | 1190 | 21.7 |
| SWC490BH | 490 | 500 | 250 | ≤15 | 190 | 1985 | 435 | 275 | 325 | 270 | 16-31 | 47 | 12 | 90 | 22.5 | 32.86 | 0.4744 | 1452 | 21.7 |
| SWC550BH | 550 | 710 | 355 | ≤15 | 240 | 2300 | 492 | 320 | 426 | 305 | 16-31 | 50 | 12 | 100 | 22.5 | 68.92 | 1.357 | 2380 | 34 |
Când vorbim despre unelte industriale grele care mențin puterea să circule în mod fiabil, cuplajul articulației universale SWC (denumită adesea cuplarea articulației universale a arborelui cardan SWC) este o piesă nenegociabilă. Veți găsi greu la lucru în configurații precum laminoare, mașini de ridicare și tot felul de sisteme grele de mașini grele - locuri în care tăierea colțurilor la transmisia puterii pur și simplu nu este o opțiune.
Sarcina sa principală? Conectați doi arbori de transmisie care nu se aliniază perfect (axe necoincidente) și asigurați-vă că puterea continuă să se miște fără probleme, chiar și atunci când condițiile de operare devin dure. Fără bâlbâială, fără pauze - doar transfer constant atunci când contează cel mai mult.
Să dezvăluim specificațiile cheie care fac posibilă această performanță:
Diametrul de rotație: variază de la φ58 la φ620, acoperind o gamă largă de nevoi industriale. Cuplu nominal: mânere oriunde de la 0,15 kN·m până la 1000 kN·m—suficienți mușchi chiar și pentru cerințele de cuplu ridicat.
Unde iese cel mai mult în evidență? Gândiți-vă la operațiunile de laminoare - unde acționează ca un cuplaj universal de articulație fiabil și rezistent, care rezistă sub presiunea intensă a morii. Sau în echipamentele de ridicare și manipulare a materialelor, unde, în calitate de cuplare durabilă a arborelui cu articulație universală SWC, menține lucrurile stabile chiar și atunci când sarcinile devin severe. Nu funcționează doar, ci menține operațiunile stabile atunci când lucrurile devin grele.
Cuplajul universal SWC nu este doar combinat, ci este proiectat de la zero pentru a rezista în condiții industriale, cu caracteristici care sporesc atât performanța, cât și longevitatea. Să aruncăm o privire atentă la ceea ce face ca structura sa să funcționeze atât de bine.
Design inteligent, sigur
În centrul său se află un design integrat al capului furcii - fără piese separate ținute împreună de șuruburi aici. Acest lucru contează deoarece reduce riscul ca șuruburile să se slăbească sau să se rupă, o durere de cap obișnuită cu alte configurații. De fapt, acest design crește rezistența structurală cu 30% până la 50% în comparație cu stilurile mai vechi. Pentru oricine se bazează pe un cuplaj universal pentru mașini grele, asta înseamnă mai puține defecțiuni atunci când lucrurile devin intense. Este genul de cuplare universală robustă care continuă să funcționeze fără probleme, chiar și în medii cu stres ridicat, unde alte piese ar putea defecta.
Construit pentru a transporta sarcina
Acesta nu este conectorul tău obișnuit. Cuplajul universal de rezistență SWC este conceput pentru a face față greutăților mari - gândiți-vă la echipamentele de minerit, mașinile de construcții și alte lovitori grei. Când aveți nevoie de o cuplare universală robustă, care să nu se dea înapoi sub presiune, acesta este cel care oferă. Nu este vorba doar de dimensiune; este vorba despre materiale și inginerie care lucrează împreună pentru a prelua greutatea fără a se uza rapid.
Mișcă puterea eficient
Te-ai întrebat vreodată unde se duce toată energia în marile configurații industriale? Nu se irosește mult aici. Acest cuplaj universal cu cuplu mare atinge niveluri de eficiență de până la 98,6%, ceea ce înseamnă mai puțină energie pierdută ca căldură sau frecare. Pentru operațiunile care doresc să reducă costurile, acesta este un mare câștig. Este tipul de cuplare universală eficientă care face diferența în sistemele mari de transmisie a puterii, acționând ca un cuplaj universal de încredere care ține facturile la energie sub control.
Liniştit şi statornic
Mașinile puternice pot fi o problemă reală, mai ales în spațiile în care zgomotul contează. Cuplajul universal SWC menține lucrurile calme, cu niveluri de zgomot de obicei cuprinse între 30-40 dB(A) - mai silențios decât o conversație normală. Acest lucru îl face un cuplaj universal excelent cu zgomot redus pentru medii în care menținerea sunetului este esențială, fără a sacrifica fiabilitatea de care aveți nevoie. Indiferent dacă este într-o fabrică sau într-un atelier de precizie, acest cuplaj universal cu articulație cu funcționare lină își face treaba fără rachetă.
Cuplajul universal SWC-BH Standard Flex Welding Type nu este doar o altă piesă - este un cal de bătaie construit pentru a deplasa eficient puterea, chiar și atunci când mașinile sunt supuse unor solicitări puternice. Să dezvăluim acolo unde strălucește cu adevărat.
Luați mașinile grele și echipamentele de construcție, de exemplu. Când aveți de-a face cu sarcini extreme și vibrații constante - gândiți-vă la excavatoare sau buldozere - acest cuplaj nu dă înapoi. Designul său sudat adaugă o rezistență suplimentară, astfel încât să reziste la opțiunile mai subțiri care s-ar putea crăpa sau s-ar uza din cauza acestei mișcări. Este genul de cuplare universală cu cuplu mare care menține puterea să curgă, indiferent cât de dificilă devine lucrarea.
În fabrici, în special pe liniile de transport și sistemele de asamblare, precizia contează. Acest cuplaj universal de calitate industrială gestionează unghiurile și se schimbă în aliniere fără a sări o bătaie, menținând vitezele constante. Aceasta înseamnă mai puțin timp pentru remedierea defecțiunilor și mai mult timp pentru a menține producția pe drumul cel bun. Inginerilor le place pentru că se adaptează la dezalinirile axiale, radiale și unghiulare - mici deplasări care pot arunca alte părți.
În domeniul auto și al transporturilor, arborii de transmisie au nevoie de ceva fiabil pentru a transmite puterea fără probleme. SWC-BH se potrivește perfect, fie că este vorba de camioane, trenuri sau alte vehicule. Designul său de sudare flexibilă îl face ușor de introdus în setările existente, gestionând viteze mari fără a tăia colțuri în siguranță. Este cuplarea universală a arborelui de antrenare pentru a menține lucrurile în mișcare.
Lucrările maritime și offshore sunt grele pentru echipamente - apă sărată, vreme nefavorabilă, sarcini imprevizibile. Acest cuplaj își păstrează propria ei și aici. Fiind un cuplaj universal marin rezistent la coroziune, rezistă la stropii de sare și la mările agitate, menținând motoarele navelor și mașinile auxiliare să funcționeze constant. Fără defecțiuni legate de rugină, fără opriri neașteptate.
Instalațiile de energie regenerabilă, cum ar fi turbinele eoliene și trackerele solare, au nevoie de piese care nu risipesc energie. SWC-BH devine un cuplaj universal de energie regenerabilă, transferând puterea fără nicio reacție. Îndeplinește standardele globale de calitate, așa că, indiferent dacă este într-un parc eolian din Europa sau într-o instalație solară din Asia, oferă rezultate.
La Raydafon, nu vindem doar aceste cuplaje, ci le personalizăm. Aveți nevoie de o anumită dimensiune, material sau capacitate de cuplu? Echipa noastră modifică SWC-BH pentru a se potrivi exact nevoilor dumneavoastră. Contactați-vă și vă vom ajuta să profitați la maximum de sistemul dvs.
Când căutați pe cineva în care să aveți încredere cu componente mecanice - în special lucruri precum cuplarea universală tip sudare flexibilă SWC-BH - Raydafon nu este doar o altă opțiune. Suntem un producător care trăiește și respiră calitate și asta se vede în fiecare piesă pe care o producem.
În primul rând, calitatea nu este o idee ulterioară pentru noi. Folosim tehnici de inginerie de vârf și punem fiecare cuplare universală de îmbinare – indiferent dacă este una cu cuplu mare pentru mașini grele sau un model de calitate industrială pentru setările din fabrică – prin verificări stricte. Fiecare piesă îndeplinește standardele ISO 9001 și le testăm din greu: sarcini extreme, condiții dificile, indiferent de industria dumneavoastră. Obiectivul? Fără defecțiuni neașteptate, riscuri mai mici pentru operațiunile dvs. și o cuplare care vă menține sistemele să funcționeze fără probleme.
Apoi mai este personalizarea. Să fim realiști – nu există două locuri de muncă la fel. Poate aveți nevoie de un cuplaj universal pentru arbore de transmisie cu dimensiuni specifice sau un cuplaj universal de propulsie marină din material rezistent la coroziune sau chiar un cuplaj universal de energie regenerabilă reglat pentru cuplul potrivit. Nu vă facem să vă potriviți într-o piesă „unică pentru toate”. Spuneți-ne de ce aveți nevoie și îl vom adapta pentru a se încadra direct în configurația dvs. existentă, indiferent dacă este vorba de sisteme auto, navale sau solare/eoliene.
Și înțelegem că costurile contează, de asemenea. Nu ar trebui să alegeți între o cuplare bună și un preț corect. Ne-am optimizat lanțul de aprovizionare și ne-am mărit producția, astfel încât să putem oferi prețuri competitive chiar și pentru piese specializate, cum ar fi acel cuplaj universal de propulsie marină sau modelul industrial cu cuplu ridicat, fără a reduce calitatea. Este vorba despre a vă oferi valoare care durează, nu doar o piesă ieftină care eșuează rapid.
Nici echipa noastră nu dispare odată ce ați apăsat „comanda”. De la primul apel - când încercați să vă dați seama care cuplaj universal funcționează cel mai bine pentru echipamentul dvs. de energie regenerabilă sau linia de fabrică - până la asistența post-vânzare dacă aveți întrebări, suntem aici. Avem ani de experiență în industrie, astfel încât să vă putem ghida către alegerea potrivită, să vă ajutăm să evitați timpii de nefuncționare și să ne asigurăm că cuplajul dvs. face exact ceea ce aveți nevoie.
La Raydafon, nu vindem doar piese, ci construim parteneriate. Dorim să fim echipa în care aveți încredere pentru a vă menține operațiunile în mișcare, cu soluții comune universale care funcționează la fel de greu ca și dvs. Dacă aveți nevoi specifice, contactați astăzi specialiștii noștri – să vorbim despre cum vă putem ajuta.
Abordare
Zona industrială Luotuo, districtul Zhenhai, orașul Ningbo, China
Tel


+86-574-87168065


Zona industrială Luotuo, districtul Zhenhai, orașul Ningbo, China
Copyright © Raydafon Technology Group Co., Limited Toate drepturile rezervate.
Links | Sitemap | RSS | XML | Politica de confidențialitate |
