Cod QR
Despre noi
Produse
Contactaţi-ne


Fax
+86-574-87168065

E-mail

Abordare
Zona industrială Luotuo, districtul Zhenhai, orașul Ningbo, China
Dacă utilizați mașini grele - cum ar fi laminoare de oțel care scot metal în timpul schimburilor, macarale care ridică tone de material sau unelte de minerit care luptă împotriva prafului și presiunii în subteran - aveți nevoie de un cuplaj care nu vă va dezamăgi. Exact pentru asta este construit cuplajul universal de tip sudură flexibil standard SWC-BH de la Raydafon: transmisie fiabilă a cuplului, chiar și atunci când munca devine dificilă.
În primul rând, să vorbim despre designul său. Jugul sudat nu este doar o caracteristică - este un schimbător de joc. Spre deosebire de jugurile cu șuruburi care se pot slăbi în timp, acesta este solid sudat, deci nu există riscul ca piesele să se desprindă atunci când utilajele tale lucrează din greu. Și se potrivește și la o gamă largă de configurații, cu diametre de rotație de la 180 mm la 620 mm - nu este nevoie să căutați o opțiune de mărime unică. Ca un cuplaj universal flexibil standard, gestionează până la 15 grade de dezaliniere unghiulară, ceea ce înseamnă că dacă arborii dumneavoastră nu sunt aliniați perfect (și să fim reali, rareori), menține puterea în mișcare. Chiar și atunci când cuplul atinge 1250 kN·m — putere serioasă — rămâne constant, fără bâlbâială, fără căderi.
Nu ne-am zgarcit nici la materiale. Acest lucru este fabricat din oțel 35CrMo - materiale de înaltă rezistență care rezistă la uzură, chiar și atunci când este lovit într-o mină sau încălzit lângă o laminor. În plus, punem rulmenți cu ace de precizie, astfel încât se mișcă lină, reduce frecarea și durează mult mai mult decât cuplajele mai ieftine. De aceea, este o alegere pentru cuplajele universale pentru mașini grele - nu funcționează doar câteva săptămâni; se lipește, ținând echipamentul în funcțiune. Și dacă aveți nevoie de cuplaje universale sudate pentru aplicații industriale? Asta este — designul sudat gestionează mai bine vibrațiile și stresul decât alternativele cu șuruburi, astfel încât să petreceți mai puțin timp fixând și mai mult timp lucrând.
La Raydafon, le facem în China, dar nu reducem calitatea. Fiecare pas respectă standardele ISO 9001 – verificăm oțelul, inspectăm sudurile, testăm rulmenții – astfel încât să știți că obțineți un cuplaj care îndeplinește regulile globale de calitate. Și dacă configurația ta este puțin diferită? Facem ajustări personalizate — ajustați dimensiunea, modificăm specificațiile — orice aveți nevoie pentru a se potrivi. Partea cea mai bună? Nu are un preț ca o piesă de lux. Obțineți un cuplaj universal durabil, care funcționează din greu, fără a plăti o avere. Pentru oricine nu își poate permite timpi de nefuncționare, acest cuplaj SWC-BH este genul de piesă fiabilă care vă menține utilajele în mișcare, zi de zi.
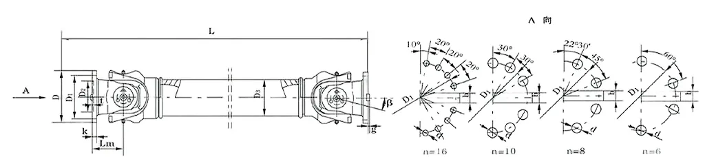
| Nu. | Diametrul de rotație D mm | Cuplul nominal Tn KN·m | Unghiul de pliere a axelor β (°) | Cuplu obosit Tf KN·m | Dimensiune (mm) | Inerția de rotație kg.m2 | Greutate (kg) | |||||||||||
| Lmin | D1 (js11) | D2 (H7) | D3 | Lm | n-d | k | t | b (h9) | g | Lmin | Crește 100 mm | Lmin | Crește 100 mm | |||||
| SWC100WH | 100 | 1.25 | 0.63 | 25° | 243 | 84 | 57 | 60 | 55 | 6-9 | 7 | 2.5 | - | - | 0.0039 | 0.00019 | 4.5 | 0.35 |
| SWC120WH | 120 | 2.5 | 1.25 | 25° | 307 | 102 | 75 | 70 | 65 | 8-11 | 8 | 2.5 | - | - | 0.0096 | 0.00044 | 7.7 | 0.55 |
| SWC150WH | 150 | 5 | 25 | 25° | 350 | 130 | 90 | 89 | 80 | 8-13 | 10 | 3 | - | - | 0.371 | 0.00157 | 18 | 24.5 |
| SWC180WH | 180 | 12.5 | 6.3 | 25° | 180 | 155 | 105 | 114 | 110 | 8-17 | 17 | 5 | - | - | 0.15 | 0.007 | 48 | 2.8 |
| SWC225WH | 225 | 40 | 20 | 15° | 520 | 196 | 135 | 152 | 120 | 8-17 | 20 | 5 | 32 | 9 | 0.365 | 0.0234 | 78 | 4.9 |
| SWC250WH | 250 | 63 | 31.5 | 15° | 620 | 218 | 150 | 168 | 140 | 8-19 | 25 | 6 | 40 | 12.5 | 0.817 | 0.0277 | 124 | 5.3 |
| SWC285WH | 285 | 90 | 45 | 15° | 720 | 245 | 170 | 194 | 160 | 8-21 | 27 | 7 | 40 | 15 | 1.756 | 0.051 | 185 | 6.3 |
| SWC315WH | 315 | 125 | 63 | 15° | 805 | 280 | 185 | 219 | 219 | 10-23 | 32 | 8 | 40 | 15 | 2.893 | 0.0795 | 262 | 8 |
| SWC350WH | 350 | 180 | 90 | 15° | 875 | 310 | 210 | 267 | 194 | 10-23 | 35 | 8 | 50 | 16 | 5.013 | 0.2219 | 374 | 15 |
| SWC390WH | 390 | 250 | 125 | 15° | 955 | 345 | 235 | 267 | 215 | 10-25 | 40 | 8 | 70 | 18 | 8.406 | 0.2219 | 506 | 15 |
| SWC440WH | 440 | 355 | 180 | 15° | 1155 | 390 | 255 | 325 | 260 | 16-28 | 42 | 10 | 80 | 20 | 15.79 | 0.4744 | 790 | 21.7 |
| SWC490WH | 490 | 500 | 250 | 15° | 1205 | 435 | 275 | 325 | 270 | 16-31 | 47 | 12 | 90 | 22.5 | 26.54 | 0.4744 | 1014 | 21.7 |
| SWC550WH | 550 | 710 | 355 | 15° | 1355 | 492 | 320 | 426 | 325 | 16-31 | 50 | 12 | 100 | 22.5 | 48.32 | 1.357 | 1526 | 34 |
Dacă te-ai săturat să ai de-a face cu cuplaje agitate care îți încetinesc munca sau se rup atunci când ai cea mai mare nevoie de ele, cuplajul universal SWC-WH fără sudură flexibilă de la Raydafon este o schimbare de joc. Este plin de avantaje care îl fac să fie o alegere de top pentru oricine are nevoie de o transmisie lină a cuplului în sistemele mecanice - fără pași de sudare confuzi, doar performanțe solide care se potrivesc perfect în fluxul dvs. de lucru.
În primul rând, instalarea acestui lucru este mult mai ușoară decât ați putea crede. Spre deosebire de cuplajele sudate care vă obligă să aduceți unelte suplimentare sau să așteptați ca sudurile să se stabilească, SWC-WH folosește un design cu șuruburi. Îl puteți introduce rapid în configurația existentă și când este timpul pentru întreținere? Demontarea este ușoară, astfel încât echipamentul dvs. industrial petrece mai puțin timp inactiv. De aceea, este o cuplare universală atât de versatilă, cu un cuplu mare, fără bătăi de cap, doar intrați, reparați ceea ce aveți nevoie și reveniți la lucru.
Din punct de vedere al durabilității, este construit pentru a rezista. Folosim materiale rezistente care suportă sarcini mari și vibrații constante fără tresărire – perfecte pentru locurile industriale aglomerate, unde echipamentele nu se întrerupe niciodată. Și, deoarece nu există sudură, nu trebuie să vă faceți griji cu privire la acele puncte slabe care apar atunci când sudurile se uzează în timp. Acesta nu este un cuplaj care va trebui înlocuit la fiecare câteva luni; este un cuplaj universal de încredere pentru mașini industriale, care rămâne în jur, menținându-vă operațiunile stabile.
Dezechilibre? Nici o problemă. Arborele nu rămân niciodată perfect aliniate, în special în sistemele de automobile sau de transport, dar SWC-WH gestionează abaterile unghiulare, axiale și radiale ca un profesionist. Este genul de cuplare universală a arborelui de antrenare care menține puterea să se miște fără probleme chiar și atunci când alinierea devine neplăcută - fără smucituri, fără căderi, doar performanță constantă.
Și să vorbim costuri. Sudarea adaugă forță de muncă suplimentară și taxe de materiale, dar acest cuplaj omite toate acestea. Obțineți un produs de calitate fără a cheltui prea mult, ceea ce este un mare câștig pentru orice buget. Chiar și în locuri dificile, cum ar fi instalațiile marine, unde coroziunea este o amenințare constantă, se menține ca o cuplare universală marină de încredere - rezistentă împotriva apei sărate, ușor pentru portofel.
Dacă vă interesează energia regenerabilă, acest cuplaj se potrivește și el. Este un cuplaj universal solid pentru echipamente de energie regenerabilă, care mișcă energia eficient, cu aproape deloc deșeuri. În plus, este ușor, așa că nu vă îngreunează sistemul - excelent pentru a menține lucrurile să funcționeze sustenabil fără a sacrifica performanța.
La Raydafon, nu vindem doar cuplaje, ci și cele care se potrivesc nevoilor dumneavoastră. SWC-WH este personalizabil, astfel încât funcționează exact așa cum doriți. Dacă sunteți curios cum vă poate face operațiunile mai ușoare, contactați echipa noastră. Vă vom ghida prin asta, fără jargon - doar vorbiți direct despre ce poate face acest cuplare pentru dvs.
Cuplajul universal SWC-WH de la Raydafon fără tip de sudare flexibilă funcționează pe baza cunoștințelor de bază ale mecanicii îmbinărilor cardanice, dar l-am ajustat pentru a lovi mai greu pentru lucrările industriale. Totul? Obțineți cuplul să se miște fără probleme între doi arbori care nu sunt aliniați perfect, chiar și atunci când sunt în unghi. Ca un cuplaj universal pentru arbore cardanic SWC, construit special, folosește o piesă în formă de cruce în mijloc pentru a menține puterea de rotație constantă - exact de ce este un cuplaj universal pentru un cuplu ridicat pentru lucrări dificile, cum ar fi laminoare sau mașini de ridicare.
Să dezvăluim miezul modului în care funcționează: există două juguri bifurcate și sunt conectate printr-o cruce centrală (o numim păianjen). Această configurație permite jugurilor să pivoteze în mai multe direcții, așa că, chiar dacă arborii sunt decalați cu până la 25° (acesta este unghiul maxim de pliere al axei), cuplul este transmis în continuare uniform. Are specificații pentru a susține și asta: diametrele de rotație variază de la φ58 la φ620 și gestionează cuplul nominal de la 0,15 la 1000 kN·m. Când îl utilizați ca cuplare universală de îmbinare grea pentru operațiunile de laminoare, acest design înseamnă că rotația de intrare se transformă într-o mișcare de ieșire fără probleme - acele îmbinări articulate pivotează singure pentru a compensa dezalinirile, fără întreruperi.
Ce face ca piesa „fără sudare flexibilă” să conteze? Am schimbat sudurile cu conexiuni prin șuruburi sau prin strângere. Sudurile pot fi puncte slabe de-a lungul timpului, dar aceste elemente de fixare reduc riscurile de defecțiune și fac de asemenea mult mai ușoară asamblarea cuplajului. Acest cuplaj industrial universal de îmbinare are, de asemenea, un design îmbunătățit al capului furcii, care oprește slăbirea șuruburilor, sporindu-și rezistența structurală cu 30%-50%. Aceasta este o afacere importantă pentru locurile solicitante, cum ar fi minele sau șantierele de construcții, unde acționează ca o cuplare durabilă a arborelui articulației universale SWC - rezistând la sarcini grele fără a ceda.
Eficiența este un alt câștig aici: atinge o eficiență de transmisie de până la 98,6%. Am proiectat fiecare piesă pentru a reduce frecarea și risipa de energie – așa că nu este surprinzător că este un cuplaj universal eficient pentru transmisia de putere mare în configurații industriale de mare putere. Și rulează silențios: de obicei 30-40 dB(A). Acest lucru se datorează rotației echilibrate și atenuării încorporate a vibrațiilor - făcându-l un cuplaj universal cu zgomot redus pentru locurile în care zgomotul este o problemă. În plus, reduce costurile cu energie, astfel că bifează caseta și pentru nevoile de cuplare universală cu economie de energie.
În sistemele de cuplare universală pentru mașini grele, acest lucru contează cel mai mult: SWC-WH distribuie forțele uniform în toate părțile sale. Nicio piesă nu necesită prea multă tensiune, ceea ce înseamnă mai puține defecțiuni și o viață mai lungă. La Raydafon, nu doar construim acest cuplaj pentru a îndeplini specificațiile, ci îl adaptăm pentru a funcționa pentru munca ta, fie că este vorba de mașini grele robuste sau de configurații industriale specializate. Dacă doriți să îl modificați pentru ca sistemul să funcționeze mai bine sau să dureze mai mult, discutați cu echipa noastră - vă vom ajuta să obțineți o configurație care se potrivește exact ceea ce aveți nevoie.
⭐⭐⭐⭐⭐ Zhang Wei, inginer mecanic, Beijing Industrial Machinery Co., Ltd.
Avem cuplajul universal de tip SWC-WH de la Raydafon fără sudură flexibilă pe echipamentul nostru de producție de câteva luni și a avut o performanță constantă, mai ales când ne împingem mașinile pentru a face față sarcinilor mari. Ceea ce apreciez cu adevărat este construcția sa robustă: chiar și în acele schimburi lungi și solicitante în care alte părți ar putea începe să se clatine, acest cuplaj menține lucrurile să funcționeze fără probleme - fără vibrații aleatorii, fără defecțiuni bruște care ne aruncă întreaga linie.
Instalarea a fost și ea ușoară. Echipa noastră nu a trebuit să petreacă ore întregi descoperind pași complexi; l-am montat rapid și nu am mai fost nevoit să-l modificăm de atunci. Pentru echipamentele grele precum a noastră, fiabilitatea și calitatea nu sunt negociabile, iar acest cuplaj bifează ambele casete. Raydafon a dovedit că este un partener pe care ne putem baza aici – suntem cu adevărat mulțumiți de modul în care rezistă acest produs.
⭐⭐⭐⭐⭐ John Smith, director de fabrică, Florida Manufacturing, SUA
Am pus cuplul Raydafon SWC-WH în uz la unitatea noastră din Florida cu câteva luni în urmă și a fost exact ceea ce aveam nevoie – simplu, fără probleme și eficient în mod constant. Transmisia de putere rămâne stabilă, ceea ce este esențial pentru a ne menține producția în ritm și nu am fost nevoiți să o atingem pentru întreținere o dată. Acesta este un mare câștig pentru noi; mai puțin timp pentru repararea pieselor înseamnă mai mult timp pentru a lucra.
Chiar și atunci când rulăm mașinile din greu, sub un stres ridicat, acest cuplaj nu tresează - doar continuă. Instalarea a fost de asemenea simplă; tehnicienii noștri l-au instalat în cel mai scurt timp. Și când combinați acea performanță cu un preț rezonabil? Este o valoare solidă. În plus, asistența pentru clienți Raydafon a fost de top atunci când am avut o întrebare rapidă - ne-au răspuns rapid. Fără îndoială, vom continua să folosim produsele lor în continuare.
⭐⭐⭐⭐⭐ Roberto Silva, director de operațiuni, São Paulo Engineering Solutions, Brazilia
Am colaborat cu Raydafon de ceva vreme, dar cuplajul lor SWC-WH Without Flex s-a remarcat cu adevărat în operațiunile noastre – s-a dovedit că merită în repetate rânduri. Primul lucru pe care îl observați este construcția sa solidă; se simte construit pentru a rezista, iar asta se traduce printr-o performanță de încredere a utilajelor noastre.
Înainte de a trece la acest cuplaj, aveam de-a face cu perioade frecvente de nefuncționare din cauza problemelor de aliniere greșită și a uzurii premature a pieselor noastre vechi. Acum? Aceste probleme au dispărut. Ne-a redus timpul de nefuncționare, ceea ce a fost un impuls uriaș pentru productivitate. Si montaj? Super ușor - echipa noastră nu a pierdut timpul cu configurarea depanării. Pentru orice companie care are nevoie de piese de transmisie a energiei în care poate avea încredere, aceasta este o idee simplă. L-aș recomanda absolut.
⭐⭐⭐⭐⭐ Peter Müller, supervizor tehnic, Stuttgart Manufacturing GmbH, Germania
Folosim cuplajul SWC-WH de la Raydafon în unitatea noastră de producție din Stuttgart de peste șase luni și a fost impecabil - serios, nicio problemă tot timpul. Designul său este simplu, ceea ce face ca instalarea să fie simplă; echipa noastră l-a montat și gata de funcționare în cel mai scurt timp, nu au fost necesare pași complicati sau instrumente speciale.
Ceea ce mă impresionează cu adevărat, însă, este calitatea. Sudarea este curată și puternică, iar materialele par de înaltă calitate - vă puteți da seama că nu au tăiat colțuri. Este ținut perfect în condiții de utilizare obișnuită, prezentând zero semne de uzură chiar și după luni de funcționare continuă. Suntem mai mult decât mulțumiți de performanța acestui produs și este deja pe lista noastră pentru a-l folosi pentru proiecte viitoare.
Abordare
Zona industrială Luotuo, districtul Zhenhai, orașul Ningbo, China
Tel


+86-574-87168065


Zona industrială Luotuo, districtul Zhenhai, orașul Ningbo, China
Copyright © Raydafon Technology Group Co., Limited Toate drepturile rezervate.
Links | Sitemap | RSS | XML | Politica de confidențialitate |
